Hệ thống giàn ắc quy
Giàn ắc quy là bộ phận không thể thiếu trong nhà máy điện, trạm biến áp (110kV, 220kV, 500kV) và trong hệ thống viễn thông. Nhằm cung cấp không gián đoạn nguồn điện một chiều để nuôi các rơle, các thiết bị đo lường, điều khiển, thiết bị truyền dẫn, thông tin liên lạc và các thiết bị khác. Hệ thống giàn ắc quy được kết nối bởi các bình ắc quy được mắc nối tiếp nhau trên giàn giá đỡ cố định đi kèm tủ fuse box . Tùy thuộc vào điện áp của bình ắc quy, điện áp của phụ tải để quyết định đến số lượng bình cần mắc nối tiếp trên giàn
- Giới thiệu
Giàn ắc quy là bộ phận không thể thiếu trong nhà máy điện, trạm biến áp (110kV, 220kV, 500kV) và trong hệ thống viễn thông. Nhằm cung cấp không gián đoạn nguồn điện một chiều để nuôi các rơle, các thiết bị đo lường, điều khiển, thiết bị truyền dẫn, thông tin liên lạc và các thiết bị khác. Hệ thống giàn ắc quy được kết nối bởi các bình ắc quy được mắc nối tiếp nhau trên giàn giá đỡ cố định đi kèm tủ fuse box . Tùy thuộc vào điện áp của bình ắc quy, điện áp của phụ tải để quyết định đến số lượng bình cần mắc nối tiếp trên giàn.
- Các bình ắc quy thông thường là 1,2V, 2,2V, 12V
- Hệ thống nguồn 48VDC, 110VDC, 220VDC
- VD: Hệ thống nguồn 220VDC sẽ được kết nối 106-110 bình 2V/giàn
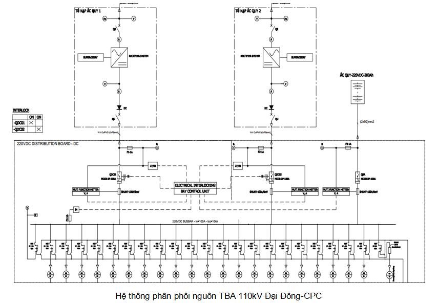
Đối với các trạm biến áp 220kV, 500kV thông thường được trang bị 2 hệ thống giàn ắc quy làm việc độc lập và dự phòng lẫn nhau. Hệ thống giàn ắc quy được đặt trong phòng vận hành độc lập, thoáng mát để đảm bảo an toàn vận hành.
Do tích chất quan trọng của nguồn điện một chiều trong hệ thống điều khiển, bảo vệ, giám sát nên các giàn ắc quỳ được trang bị 02 tủ nạp chỉnh lưu, một tủ nạp chế độ làm việc, một tủ chế độ dự phòng.
Hệ thống giàn ắc quy được kết nối cấp nguồn cho phụ tải thông qua tủ phân phối nguồn 220VDC, được bảo vệ bởi cầu chì lắp trong tủ fuse Box. Giàn ắc quy chúng tôi cung cấp được sơn tĩnh điện và liên kết bởi các thanh lắp ghép và bulông mã kẽm nhúng nóng. Cầu chì được lựa chọn phù hợp với dòng điện định mức của hệ thống Ăc quy.
Tùy vào sơ đồ kết nối, hệ thống ắc quy có thể được nạp trực tiếp qua thanh cái tủ DC, cũng có thể nạp trục tiếp ở đầu ra tủ nạp.
Với hệ thống giàn ắc quy cung cấp, giá đỡ được chúng tôi thiết kế và sản xuất ngay tại nhà máy. Tủ Fuse Box được trang bị đầy đủ cầu chì, cầu đấu và có chi tiết chờ sẵn để lắp đặt vào giá đỡ.


- Mô tả sản phẩm
Bình ắc quy được chúng tôi mua trực tiếp từ các nhà phân phối K&N/Việt Nam, Vision/Việt Nam, Chang Hong/Trung Quốc, …. Có 02 loại ắc quy được dùng phổ biến trong ngành điện là ắc quy chì và ắc quy Kiềm. Tùy vào nhu cầu của khách hàng chúng tôi sẽ cung cấp cho phù hợp theo yêu cầu.
Bình ắc quy trong quá trình vận hành phải được nạp/xả theo định kỳ nhằm mục đích bảo dưỡng bình ắc quy luôn trong tình trạng hoạt động tốt nhất, không bị chai các bản cực và giảm khả năng lưu điện của bình. nhà sản xuất cũng khuyến cáo định kỳ xả/nạp theo đúng tiêu chuẩn IEEE như sau:
- Ắc quy Ni-Cd kiềm: theo tiêu chuẩn IEEE1106-2005 định kỳ nạp/xả là 5 năm/1lần
- Ắc quy Axit-chì: theo tiêu chuẩn IEEE1106-2005 (Axit-chì hở) và IEEE 1188-2005 (Axit-chì kín) thì định kỳ nạp/xả là 25% tgian thiết kế/1lần. Nếu các bình ắc quy không có thời gian thiết kế thì cần thực hiện định kỳ 12-18 tháng/1 lần.
Việc xả bình ắc quy định kỳ ngoài mục đích để bảo dưỡng ắc quy thì nó còn giúp ta đánh giá dung lượng thực tế của bình ắc quy đó. Các bước để thực hiện xả bình ắc quy cụ thể như sau:
- Đối với ắc quy Ni-Cd kiềm: Ixả = 0.2C5 (A). Ví dụ, bình Ni-Cd kiềm của bạn có dung lượng 100Ah thì dòng xả được chọn là 0.2*100=20A
- Đối với ắc quy Axit-chì(hở & kín): Ixả = 0,1C10 (A). Ví dụ, bình Axit-chì của bạn có dung lượng 100Ah thì dòng xả được chọn là 0.1*100=10A.
Chú ý: Trong quá trình xả chú ý nhiệt độ của bình ắc quy để tránh nguy cơ làm phồng rộp, hư hỏng bình
Hãy là người đầu tiên nhận xét “Hệ thống giàn ắc quy” Hủy
Sản phẩm tương tự
Thiết bị hạ thế
Thiết bị hạ thế
Thiết bị hạ thế
Thiết bị hạ thế






Đánh giá
Chưa có đánh giá nào.